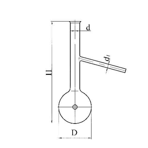
Колба круглодонная для разгонки нефти и нефтепродуктов (Энглера) КРН-125 ТС применяется при проведении работ, связанных с перегонкой нефти и нефтепродуктов.
Краткое описание колбы КРН-125 ТС
Колба выполнена в виде сферы. Имеет цилиндрическую горловину с присоединенной трубкой.
Изготавливается из термически стойкого стекла группы ТС.
|
Вместимость, |
Диаметр D, |
Диаметр d, |
Диаметр d1, |
Высота H, |
Длина l, |
|
125 |
69 |
17 |
5 |
214 |
100 |
Материал: термически стойкое стекло.
30.10.2017
Учёные из Германии, Швейцарии и Нидерландов провели исследование по осязанию бактерий, показавшее, как именно бактерии реагируют на встречающиеся на пути преграды. © Kateryna Kon / Фотодом / Shutterstock Несмотря на свою довольно простую одноклеточную структуру, бактерии показали, что мог ...
25.10.2017
Исследователи из США, Швеции и Японии выделили пигментный и мышечный белки из останков детенышей морских черепах, живших 54 миллиона лет назад. Работа ученых подтверждает высокую устойчивость белковых молекул. Морская черепаха Tasbacka © Rene Sylvestersen / commons. Wikimedia .org ...
24.10.2017
Ученые из Австралии, Швеции, Канады и США установили, что вирусные частицы ВИЧ в организме больных тихо «сидят» в неактивном состоянии в иммунных клетках определенного вида. © Kateryna Kon / Фотодом / Shutterstock Вирус иммунодефицита человека относится к ретровирусам и остается ...